Ford 提交「电动车手动挡系统」专利申请
透过电子控制和阻力、震动系统来模拟手动挡车操驾的体验。
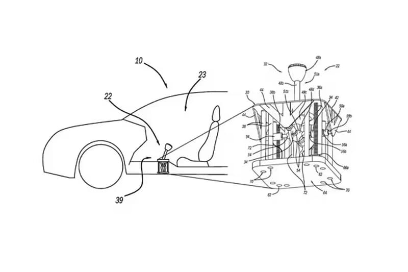
电能时代到来,各家车厂致力于投入电能车科技,Ford 也不例外。近日 Ford 就特别为电动车专门研发一款手动换档系统,名为 Shifter Assembly For Electric Vehicle,并已正式申请专利。
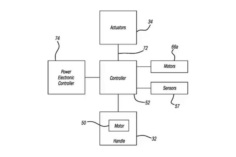
此系统旨在重现传统手动档杆的操作体验,但实际上并没有换档功能,它并非使用机械连杆,而是透过执行器和电子动力控制器来调整马达输出,让驾驶者在模拟换档时感受到不同的动力表现。位于档杆底部的回馈马达能提供振动与阻力,模拟燃油车换档时的触感。
此设计与 Hyundai Ioniq 5 N 以及 Toyota 在 Lexus RZ 上测试的模拟手排原型有异曲同工之妙,虽然电动车不需要变速齿轮,但这项技术能提升驾驶者的参与感,特别是满足那些怀念手动挡车操驾的车迷。
目前 Ford 尚未透露此技术整合进量产车型的确切资讯,有兴趣的读者不妨多加留意。



















