Apple 全新智能眼镜 Apple Glass 或将搭载「自动调整度数」镜片
舍弃传统「固定度数」镜片。
根据 Apple 最新申请的一项专利显示,Apple 全新智能眼镜 Apple Glass 或将搭载「自动对焦人眼」的镜片。Apple Glass 可以通过自动调整镜片来适应需要配戴眼镜或隐形眼镜用户视力不佳的情况。
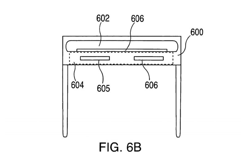
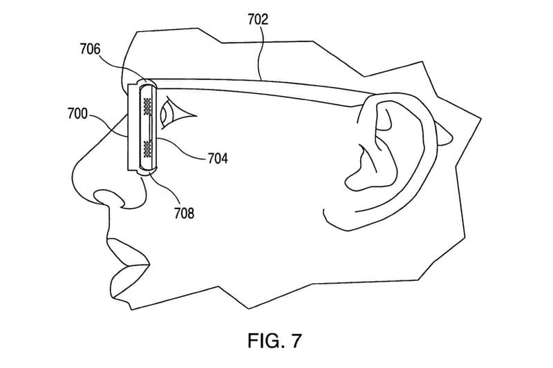
本周 US Patent and Trademark Office 美国专利商标局一项名为「Head-mounted display apparatus for retaining a portable electronic device with display」的专利中,Apple 提出了一种全新系统,简单来说,该系统以多个镜片打造而成,利用光学元件能够实现将 iPhone 画面直接置于用户眼前,使用户感觉萤幕展示的内容离实际距离更远,达到在即便萤幕在距离人眼几英吋之内也不失焦的目标。
该系统将使用眼镜或隐形眼镜的度数信息来调整光学组件的位置和配置,以校正用户的视力,从而有效地将固定度数眼镜镜片的优点添加到组件中。该文件也暗示该系统将具有处理器,可根据用户自定义的配置之间切换,对于视力正常的用户来说则是所谓的,可能会返回到「Standard 标准」模式。除了光学组件外,本专利还提到如何调整显示器以更好地满足用户的视觉需求,包括更改显示器上图像相对于其眼睛的位置,以及调整内容大小以保持一致性。
本例中的专利列出了一位发明人 Quin C. Hoellwarth,Quin C. Hoellwarth 担任 Apple 设计专利负责人和专利组合经理超过 13 年,不过不能忽略的是 Apple 每周都会提交大量专利申请,并非所有专利都会实际应用至 Apple 相关产品上,仅能表明了 Apple 对该方向确实有所关注。
最后,早先知名爆料帐户 Jon Prosser 也曾表示过 Apple Glass 的售价将会因镜片度数不同而有所改变,起价为 $499 美元,因此本技术基本上不可能会在第一代的 Apple Glass 正式问世,有兴趣的各位还请多加留意 HYPEBEAST 的追踪报导。
除此之外,另可关注其他消息:



















