Sony 将为 PlayStation 5 推出专利 AI 助理
玩游戏再有没有卡关困扰?!
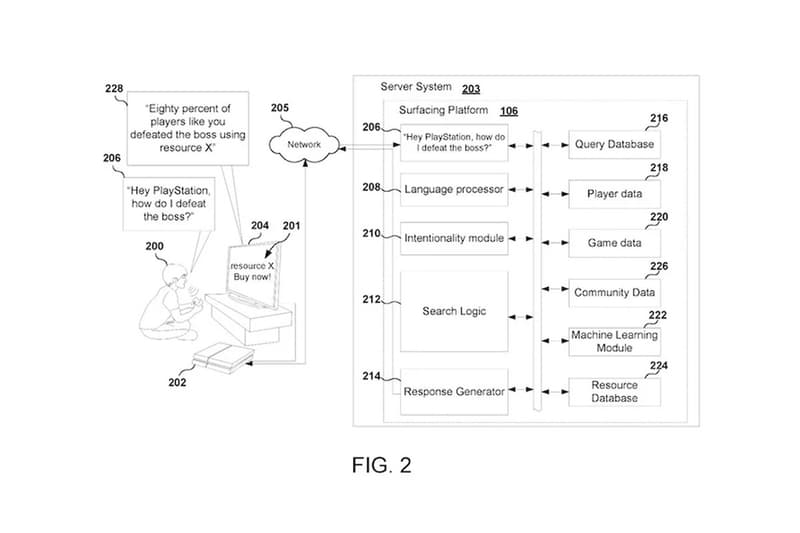
据世界智慧财产权组织(World Intellectual Property Organisation)最新公布的专利申请显示,Sony 正计画为全新世代主机 PlayStation 5 带来全新人工智慧助理功能,大致上与 Amazon Alexa 或 Apple Siri 相似,能够为用户陷入某种级数或者 Boss 卡关的情况时,提供如提示、升级和可下载内容等资源帮助。该专利叙述指出「通常游戏环境内只会有一种游戏内资源以帮助用户达成目标,该资源可能是可下载内容(DLC)、附加项目、升级、技巧、策略或公共数据等,然而用户并不一定知道这些资源的存在。」
尽管人工智慧助理功能在许多情况下皆能起到显著作用,但仍有不少人提出疑虑,那便是 PlayStation 5 会否因为此功能的加入而令游戏内购买的频率增高,比起一般手游来说,家用主机目前仍鲜少有此状况发生,许多玩家便担心因此而破坏游戏体验,这亦是 Sony 未来必须关注的重要议题。



















