Apple 全新专利揭示「自适应显示」多功能机械式键盘
每个按键都安装上小型显示器,并依照用户所使用的软体转换图示。
根据 Apple 最新的专利申请可以看到,这家科技公司正在研究如何在键盘的每个按键上搭载一个小型显示器,藉以即时动态更改每个按键上的图示和字样。
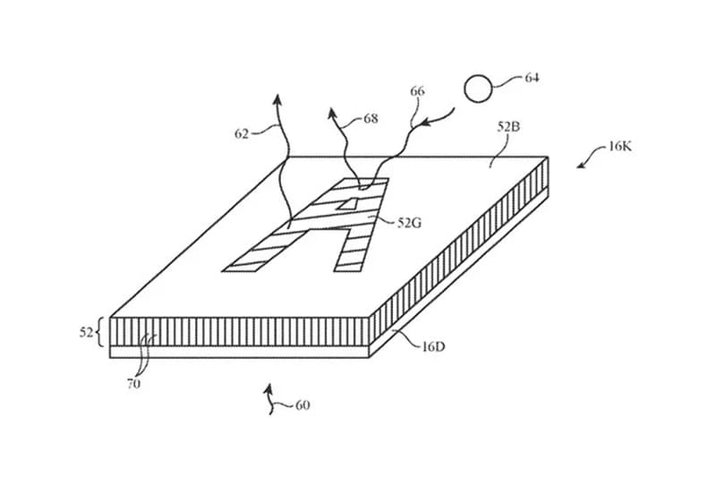
本专利文件的标题为「Electronic devices having keys with coherent fiber bundles」,它在 2020 年的最后一天被美国专利商标局(U.S. Patent and Trademark Office, USPTO)正式授予给了 Apple。该专利解释了键盘上的每个按键能如何透过光纤束连接到键盘中的控制电路的相关按键显示器,Apple 提出所有按键都应由光纤板制成,并具有相对的第一和第二表面。虽然该专利规定每个按键都需要包含一个小显示器以提供图示、字样或符号,但任何兼容的像素阵列也都可以被使用。该专利强调,键盘可以因用于不同的语言重新配置,或是将标准键盘临时转换为游戏键盘,按键则将自动转换显示为对应于游戏中的动作等等。此外,Apple 还表示每个案件将搭载视觉反馈,意指他能够清楚告诉用户哪个按键正在被点击著。
Apple 表示最重要的技术是 OLED,而按键则可由诸如玻璃、陶瓷、金属、蓝宝石或聚合物之类的晶体材料制成。最后却仍旧关键的是,本键盘不会干扰物理键盘如剪刀式按键的触感,与其他 Apple 键盘专利不同,该主张明确概述了机械式系统的运作,因此 Apple 在理论上可以保留其 Magic Keyboard 的设计。
尽管专利不一定能确定 Apple 打算将其推向市场,但它们可以提供有关公司正在研究和开发的有趣的见解。考虑到 Apple 已经通过 MacBook Pro 的 Touch Bar 展示了其对键盘的兴趣,将它持续扩展也并非完全不可能。
除此之外,另可关注其他消息:



















