Apple 仍致力于开发「可折叠式」屏幕
Samsung 这回领先一筹。
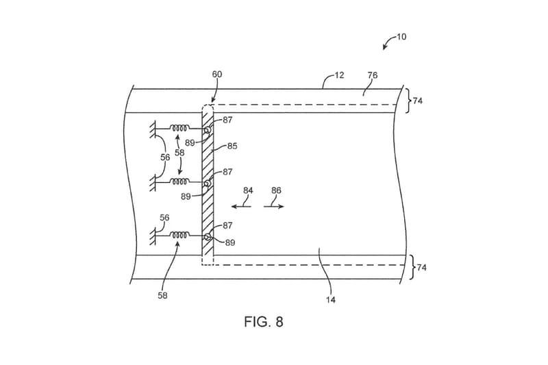
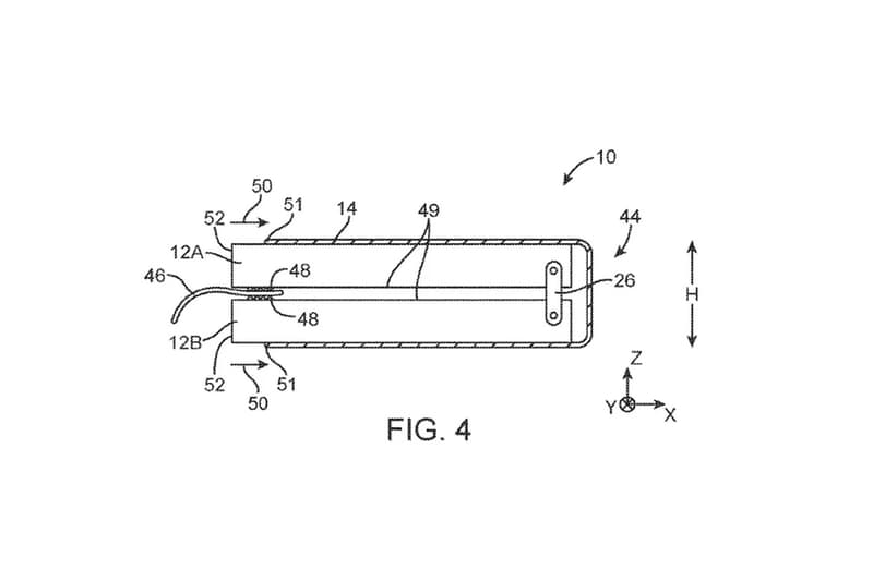
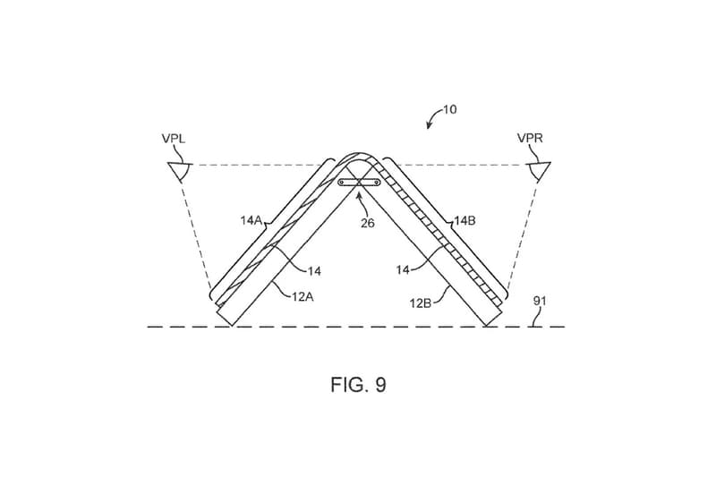
科技巨头 Samsung 在上年 11 月初便已经带来可折叠式智慧型手机预览,而今过约一季的时间,Apple 似乎也不打算错过这项技术,从其最新提交的专利申请中能够看到,机体完全折叠成 180 度和三角形的样式,并且在后者的型态下,似乎有某种功能能够提供两位用户同时使用,或许是观看影片或著某些 App 的应用。
而目前 Apple 也并未透露此技术将应用在未来新一代的 iPhone 上,在 iPad 和 MacBook 上我们亦有机会看到,有兴趣的读者不妨多加留意,或查看下一代 Apple iPhone 将附有为其他装置充电的无线充电功能的消息。



















