Apple 最新专利将允许以 3D 手势控制 Mac
再一次把 Microsoft Kinect 的技术发挥运用。
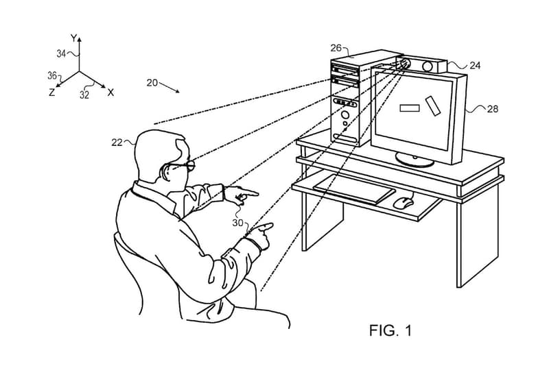
Apple 总是会在不知不觉间申请了很多专利,毕竟这对品牌来说是百利而无一害。而他们刚刚再获得了一项于 2016 年 8 月提交的专利,是一种能够允许用户以各种手势控制 3D 用户界面的技术。至于这技术便需要归功于 Apple 现任两名员工 Amir Hoffnung 和 Jonathan Pokrass,他们是在 Apple 在 2013 年 11 月收购 PrimeSense 公司而转投 Apple,而 PrimeSense 的技术最初是在 Xbox 平台上的 Kinect 设备上使用,现在则是在 iPhone X TrueDepth 相机系统上发挥。有关新专利便发现其实这技术是可以在 Mac 上应用,这次并不是如 Face ID 般识别脸貌,而是以特定手势去允许用户与电脑进行互动,毋需以键盘、鼠标或触控板等触觉输入。
A method, including receiving, by a computer executing a non-tactile three dimensional (3D) user interface, a set of multiple 3D coordinates representing a gesture by a hand positioned within a field of view of a sensing device coupled to the computer, the gesture including a first motion in a first direction along a selected axis in space, followed by a second motion in a second direction, opposite to the first direction, along the selected axis. Upon detecting completion of the gesture, the non-tactile 3D user interface is transitioned from a first state to a second state.
其实随着 Face ID 已经在 iPhone X 上实现,大概也预想得到 Apple 在未来 Mac 系列甚至是 iPad 上都会应用这技术。而早前在 MacBook Pro 加入的 Touch ID 功能相信很快便会被取代,但任何专利并不是一定会在末来的产品上实现,因为拥有某些专利只是防止其他公司去拥有,但是次的新专利着实令人期待,请继续留意我们 HYPEBEAST 的报道。



















